Революционная технология «Ghost Player» позволит ИИ заниматься скучными задачами
Помните, как люди смеялись над идеей игр, которые играют сами? Ну, Sony только что воплотила ее в жизнь.
Патент, который доказывает, что все ошибаются
Три года назад простой вопрос вызвал бурную дискуссию: когда в играх появится механика автопилота? Представьте, что искусственный интеллект берет на себя утомительные моменты, пока вы пьете пиво и едите чипсы, или берет на себя управление вашим файлом сохранения, чтобы продвигаться по сюжету, пока вы смотрите. Какова была реакция? В комментариях люди назвали это «игровым рогоносецством».
Сегодня Sony официально запатентовала технологию искусственного интеллекта, которая может проходить за вас сложные, утомительные или вызывающие разочарование участки игр.
Как на самом деле работает Ghost Player
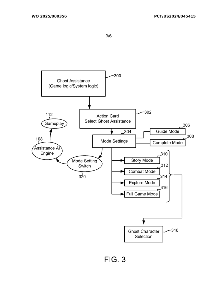
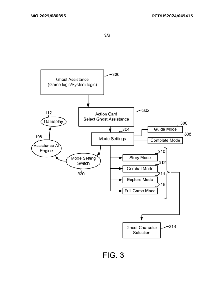
Согласно патентным документам, поданным в сентябре 2024 года и опубликованным на этой неделе Всемирной организацией интеллектуальной собственности, система работает в нескольких различных режимах:
Режим «Подсказка» — ИИ демонстрирует решение головоломки или задачи, показывая вам, как действовать, прежде чем вы снова возьмете управление на себя. Считайте это умным, контекстно-зависимым учебником, который появляется именно тогда, когда вам это нужно.
Полный режим — ИИ просто проходит весь уровень за вас. Застряли в бою с боссом? Позвольте призраку взять на себя управление. Устали от последовательностей лазания? Перейдите сразу к экшену.
Режим истории, режим боя, режим исследования, полный режим игры — патент раскрывает несколько специализированных режимов, предполагая, что игроки будут иметь точный контроль над тем, чем именно занимается ИИ.
Эта технология выходит за рамки простых заранее записанных решений. Модель искусственного интеллекта обучается на реальных игровых видеозаписях, что позволяет ей адаптироваться к различным ситуациям, а не следовать фиксированному сценарию, установленному разработчиками.

Почему это меняет все
Патентные документы показывают, что речь идет не только о пропуске контента. Речь идет о персонализации вашего игрового опыта. Вот что становится возможным:
Переиграйте свои любимые игры по-новому. Представьте, что вы переигрываете все игры серии Uncharted, пропуская лазание и головоломки, связанные с окружающей средой, и оставляя только стрельбу и стелс. Или погрузитесь в Cyberpunk 2077, передав все вождение и взлом башен искусственному интеллекту, и сразу перейдя к перестрелкам.
Доступность выходит на новый уровень. Игроки с ограниченными возможностями или ограниченным временем могут наслаждаться сюжетными играми, не сталкиваясь с трудностями при выполнении сложных заданий.
Охота за трофеями становится менее утомительной. Поклонники PlayStation, которые любят собирать трофеи, уже оценили систему помощи в играх PS5. Ghost Player выводит это удобство на новый уровень.
Технология, стоящая за призраком
Система Sony основана на функции PS5 Game Help, запущенной вместе с PlayStation 5. Эта система предоставляла инструкции в виде изображений и видео через карты PS5, доступные во время игры. Несмотря на свою полезность, она все же требовала от игроков самостоятельного выполнения решений.
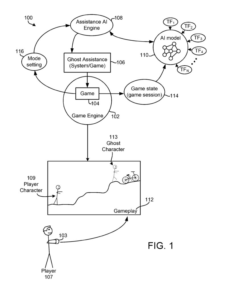
Ghost Player представляет собой значительную эволюцию. Искусственный интеллект интегрирован непосредственно в игровой движок, анализирует текущее состояние игры и использует несколько факторов обучения (обозначенных в патентных диаграммах как TF₁ через TFₙ) для генерации соответствующих действий в режиме реального времени.
Система включает в себя «Assistance AI Engine», который подключается к:
- Настройки режима, выбранные игроком
- Состояние игры и данные сессии
- Модель искусственного интеллекта, обученная на видеозаписях игрового процесса
- Прямое управление игровым процессом

Растущая тенденция в области игрового ИИ
Sony не единственная компания, которая занимается разработкой игровых помощников на базе искусственного интеллекта. Microsoft недавно представила Copilot for Gaming, который описывается как «помощник на базе искусственного интеллекта», разработанный в качестве персонализированного игрового компаньона.
Система Microsoft ориентирована на обучение менее опытных игроков. В демонстрационных примерах показано, как игрок Minecraft спрашивает, что можно сделать с деревом, а пользователь мобильного приложения Xbox просит ИИ установить Age of Empires IV и предоставить краткий отчет о своей последней сессии.
В чем разница? Патент Sony предполагает более пассивный подход, при котором ИИ активно играет в игру, а не просто предоставляет информацию и рекомендации.
Ожидаемая полемика
Как и любая технология, которая меняет наше взаимодействие с играми, Ghost Player сталкивается со скептицизмом. Критики задают обоснованные вопросы:
- Разве то, что искусственный интеллект играет в игры, не противоречит самой сути игр?
- Будут ли разработчики создавать игры с учетом этой технологии, намеренно делая некоторые части игры скучными, чтобы стимулировать использование ИИ?
- Где проходит грань между помощью и заменой?
Но сторонники утверждают обратное:
- Многие игры уже включают в себя настройки сложности и механику пропуска.
- Системы помощи для решений головоломок являются распространенным явлением (хотя иногда их критикуют за чрезмерную агрессивность)
- Игроки должны иметь свободу выбора, как они хотят проходить игры
- Не у всех есть неограниченное время или рефлексы, чтобы преодолеть все испытания
Что уже делают игры
Современные игры Sony, такие как God of War Ragnarök, подверглись критике за чрезмерно полезных NPC-компаньонов, которые сразу же громко подсказывают решения головоломок. Во многих играх игроки могут пропускать встречи или снижать уровень сложности, когда задачи становятся слишком сложными. В головоломках обычно есть системы подсказок.
Ghost Player формализует и расширяет эти существующие концепции, превращая их в единую систему на базе искусственного интеллекта.
Проверка реальности
Важное примечание: на данный момент это всего лишь патент. Sony и другие компании ежегодно подают множество патентов на технологии, которые так и не попадают в производство. Нет никаких подтверждений того, что Ghost Player появится в будущем оборудовании или играх PlayStation.
Однако подробный характер патента в сочетании с тенденциями в отрасли к интеграции искусственного интеллекта свидетельствует о том, что Sony серьезно изучает это направление.
Видение трехлетней давности
Оглядываясь на этот вопрос, заданный три года назад, можно сказать, что видение становится реальностью. Возможность настраивать игровой процесс, делегируя части, которые вам не нравятся, и сохраняя моменты, которые вы любите, больше не является научной фантастикой.
Считаете ли вы, что это будущее доступных, персонализированных игр или смерть традиционного игрового дизайна, вероятно, зависит от того, как вы относитесь к свободе действий игрока и что для вас в принципе означает «игра».
Одно можно сказать наверняка: разговор об ИИ в играх перешел от «если» к «когда» и «насколько игроки должны контролировать ситуацию?».
Комментарии (0)
Вход / Регистрация
Войдите, чтобы оставить комментарий.
Комментариев пока нет
Будьте первым, кто поделится своими мыслями!